耗材全國聯采,多省跟進
乳房旋切細分市場,即將開啟全國降價。
01
乳房旋切針全國聯采開始數據填報
8月19日,四川省藥械招標采購服務中心發布《川藥招〔2024〕190號 關于開展乳房旋切針類醫用耗材歷史采購數據及需求采購數據填報工作的通知》。
同日,山西省藥械集中招標采購中心也發布了《關于開展乳房旋切針類醫用耗材歷史采購數據和采購需求量填報等工作的通知》。


乳房旋切針集采是浙江牽頭的全國性聯盟帶量采購,亦是今年的重點耗材全國聯采項目。
根據上述兩則通知,根據浙江省醫療保障局牽頭組織開展乳房旋切針類醫用耗材集中帶量采購工作安排,啟動乳房旋切針類醫用耗材歷史采購數據及需求采購數據填報工作。
產品范圍:乳房旋切針類醫用耗材(包括但不限于國家醫療保障局醫保醫用耗材分類與代碼為C01040102600002開頭的產品)。
填報內容包括醫療機構歷史采購數據和醫療機構需求采購數據。
根據通知,各醫療機構填報本單位2023年7月1日-2024年6月30日實際采購本次填報范圍內的醫用耗材采購數量、采購單價等相關歷史采購數據。本次填報范圍內所有27位國家醫保醫用耗材代碼對應產品的數量(單位:個),具體到規格型號,如同一個27位國家醫保醫用耗材代碼對應的產品存在不同采購單價,填寫最低價。
各醫療機構參考本單位填報范圍內醫用耗材產品歷史采購情況,結合臨床實際,填報2025年本次填報范圍內醫用耗材的需求采購數量。本次填報范圍內所有27位國家醫保醫用耗材代碼對應產品的數量(單位:個),具體到規格型號。各醫療機構填報的醫用耗材需求采購總量原則上應不少于該醫療機構上報的歷史采購總量總和的90%,如無法滿足,需在系統內說明具體原因。
本次集中帶量采購等工作依托浙江省牽頭醫用耗材省際聯盟集中帶量采購系統開展。系統開放時間為2024年8月19日9:00—8月29日17:00。
02
國產廠家密集獲批
這一微創細分市場迎變革
根據世界衛生組織下屬國際癌癥研究機構(IARC)數據,乳腺癌在全球范圍內已超越肺癌成為第一大癌癥。但早期乳腺癌往往不具備乳腺癌的典型癥狀和體征,影像學檢測亦沒有特異性表現,確診有賴于活檢。
乳房旋切針類耗材主要用于乳房惡性腫瘤術前活檢穿刺、乳房良性腫瘤及其他部分乳房疾患的微創旋切手術。
根據國家癌癥中心發布的數據,2015年至2020年,中國乳腺癌新發病例數從30.4萬人增加到33.1萬人,年復合增長率為1.7%,預計到2024年乳腺癌新增病例數將達到35.4萬人。
與傳統外科手術相比,乳腺微創手術優勢凸顯。隨著醫療技術的普及和健康意識的增強,女性對早期乳腺癌的預防和篩查越來越重視,乳腺旋切系統及耗材的市場前景廣闊。
據西山科技招股書測算,以《2021 中國衛生健康統計年鑒》中公示的乳腺外科主要疾病人數為基礎,假設其中65%患者需要進行乳腺活檢或良性組織切除,則估計2020年全國乳腺外科旋切手術數量約51.87萬例。根據平均每臺手術耗用量及該公司產品售價推算,一次性乳腺外科手術動力裝置耗材的市場空間約4.56億元/年。

在終端醫院科室滲透率及每例手術使用耗材數量不變的情況下,假設乳腺外科在2020-2025年按照最近5年年均增長率增長,根據相同滲透率及產品價格測算,預計2025年市場空間約為6.32億元/年。
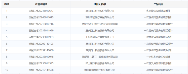
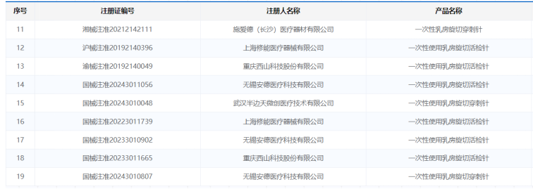
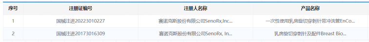
此前,乳房旋切器械市場主要由跨國企業主導,涉足企業包括碧迪、巴德、丹納赫等。耗材領域,近幾年有多家國產廠家密集獲批,目前相關企業主要有西山科技、半邊天、上海修能等。
乳房旋切針相關獲批企業見下表:



(圖源:國家藥監局)
賽柏藍器械梳理近期地方乳房旋切類耗材的醫院采購情況了解到,一次性使用乳房旋切活檢針單價多在2千元以上。
8月14日公布中標結果的安慶市立醫院懷寧院區(懷寧縣人民醫院)第八批醫用耗材配送服務采購(四包)項目中,半邊天的雙向真空輔助乳房活檢與旋切系統配套耗材活檢針單價為2980元。
8月12日簽訂合同的池州市人民醫院一次性使用乳房旋切活檢針等耗材采購項目中,重慶西山HJZXO7A/HJZXO7C/HJZXO7D一次性使用乳房旋切活檢針,單價為2560.00元。
今年3月,婁底市婦幼保健院一次性使用乳房旋切活檢針帶量采購項目中要求,采購價不高于平臺掛網價7折且不高于2500元/根。
單一醫院的采購數量相對較少。而在全國聯采之下,乳房旋切耗材市場將迎來一波降價潮。而長期來看,乳房旋切細分市場還將取得較快發展。
【來源:賽柏藍器械】

上一篇:低值耗材聯盟集采來了
相關閱讀
- 覆蓋31省 | 超大規模集采結果出爐(附名單)2024-12-19
- 1月10日開標!血管介入大規模集采正式來襲2024-12-05
- 31省耗材聯盟集采,開始申報2024-11-15
- 耗材集采31省啟動,可二次報價2024-11-08
- 9月26日起,超大聯盟集采落地(附名單)2024-08-28






